当前位置:课程学习>>第十章 最大泡压法测定液体的表面张力>>知识讲解>>文本学习>>实验原理

实验原理



实验原理

液体表面层分子和内部(本体)分子受力情况不同。图10-1是与蒸气呈平衡的纯液体(图中圆圈代表分子的引力范围),内部分子(图中A)受到周围液体分子的作用力相互抵消,合力为零。而表面层分子(图中B、C)受到液相和气相分子引力,合力指向液体内部,要使液体内部分子移到表面层(使液体的表面积增大),就必须克服此吸引力作功。

 
图10-1 液体分子的受力情况

 

在恒温恒压下,可逆地增加液体表面积As,系统自由能G的改变为:

                            (1)

                               (2)

式中是增加单位表面积时所需的可逆功,也就是单位面积的表面层分子比相同数量的内部分子多出的自由能,称为比表面自由能,单位为J·m-2。

由于表面层分子受到内部分子的引力,因而表面层分子有自动进入液体内部的倾向。在宏观上表现为有一个与表面平行,力图使表面收缩的力。从这个角度来理解的物理意义时,又称为表面张力,单位N·m-1。表面张力的大小与液体的本性、共存气相、温度和压力有关。当温度升高时,表面张力下降,当达到临界状态时,表面张力趋于零。
在纯液体中加入某种溶质形成溶液后,溶剂的表面张力会升高或降低。若加入溶质使溶液的表面张力降低,则表面层中溶质的浓度大于溶液本体的浓度;反之,若使溶液的表面张力增加,则表面层中溶质的浓度小于溶液本体的浓度。当然,表面层与溶液本体的浓度差又会引起溶质分子的扩散,当这两种相反的趋势达到平衡时,溶液表面层与溶液本体的组成不同,这种现象称为溶液的表面吸附。在一定的温度和压力下,溶液的表面吸附量与溶液的表面张力和浓度有关。对于二组分稀溶液,它们之间的关系满足吉布斯等温方程:

                              (3)

式中为表面吸附量,为表面张力,c为溶液浓度,T为热力学温度,R为气体常数。若 <0时,则>0,称为正吸附;反之, >0,则<0,称为负吸附。从上式可以看出,只要测定溶液表面张力与浓度的等温曲线,通过曲线的斜率可求得各浓度下溶液的表面吸附量

对于单分子吸附,其吸附量与浓度c之间的关系可用朗格缪尔(Langmuir)等温吸附方程表示,即

                              (4)

式中为饱和吸附量,a为吸附平衡常数。将此式两边取倒数可整理成线性方程:

                            (5)

c作图应为一直线,其斜率m,若以N代表饱和吸附时单位表面层中的分子数,则L为阿伏加德罗常数。在饱和吸附时,每个被吸附分子在表面上所占的面积,即分子的截面积S为:

                                  (6)

若已知溶质的密度ρ,摩尔质量M,就可计算出吸附层厚度,即分子的长度δ

                                 (7)
             

 

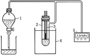
图10-2 表面张力的测定装置                          

1-抽气用的滴液漏斗;2-样品管;3-毛细管;4-恒温槽;5-数字压力计

本实验采用最大气泡压力法测定液体的表面张力,其测量装置如图10-2所示。将待测表面张力的液体装入样品管2中,使其中的液面与毛细管3端面相切,则管内液面沿毛细管上升。通过调节滴液漏斗1的活塞使系统缓慢减压,此时由于毛细管3内液面上方的压力(即外压)大于样品管中液面的压力,故毛细管内的液面逐渐下降,当液面至管口时便形成气泡逸出。此时压力计5的压力差Δp即为待测液体在毛细管中所受的附加压力,即

Δp =                                  (8)

式中R'为气泡的曲率半径,因毛细管半径很小,所以形成的气泡基本上是球形。气泡刚形成时表面几乎是平的,此时曲率半径中R'最大(如图10-3所示);当气泡形成半球形时,R'与毛细管半径r相等,曲率半径达最小值,此时Δp为最大值。随着气泡的进一步增大,R'又趋增大,直至逸出液面。


                            

图10-3 气泡形成过程示意图

在此过程中,最大附加压力可以用DP-AW精密数字压力计5测量表示。则

                            (9)

由(9)式,得

                        (10)

式中称为仪器系数,对于给定的毛细管,K为常数。可以用已知表面张力的溶液作为标准,由实验测定,由(10)式求出K。本实验以水作为标准,则,因此待测液体的表面张力的计算式为

                          (11)