
实验六 测查题(从四个备选答案中选择一个正确答案)
1.对一级反应特征的描述,下列哪一点不正确( )
A、以
对时间
作图可得一条直线,其斜率为
B、半衰期与起始浓度无关
C、速率常数
的量纲为:时间-1
D、半衰期与反应的速率常数成正比
2.蔗糖水解反应为:蔗糖+水→葡萄糖+果糖
已知蔗糖、葡萄糖和果糖的比旋光度分别为66.65o、52.5o和-91.9o(正值表示右旋,负值表示左旋)。则蔗糖水解反应系统的旋光度在反应过程中( )
A、逐渐减小 B、逐渐增加
C、先减小后增加 D、先增加后减小
3.蔗糖水解反应系统适合于旋光度测量,并通过定量推导得到如下线性方程:
此结果成立需要满足诸多条件,下面哪一点与此条件无关( )
A、蔗糖的浓度远远小于水的浓度 B、旋光度与浓度成正比
C、旋光度具有加和性 D、反应需用H+作催化剂
4.对于给定的旋光性物质,其比旋光度
与下列哪个因素无关( )
A、温度 B、溶液的浓度 C、光源的波长 D、溶剂的性质
5.研究蔗糖水解反应动力学,需要将浓度用反应系统的旋光度代替,下面正确的关系式是( )
A、
B、
C、
D、
6.蔗糖水解反应速率常数
与下列哪个因素无关( )
A、蔗糖的浓度 B、酸的浓度
C、反应的温度 D、催化剂的类型
7.在蔗糖水解反应速率常数测定的实验中,在用旋光仪进行测量之前,先用蒸馏水校正旋光度的零点,若不校正零点,对哪个量的测量结果没有影响( )
A、
B、
C、
D、
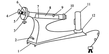
8.手动式旋光仪的外形如下图所示。通过调节刻度盘旋转手轮“3”,可以从目镜中观察到四种交替出现的视场,如下图所示的A、B、C和D。当测量旋光度时,应调节到哪种视场下进行读数( )
旋光仪外形图
1—底座;2—电源开关;3—刻度盘旋转手轮;4—放大镜盘;5—视度调节螺旋;6—刻度盘游标;7—镜筒;8—镜筒盖;9—镜盖手柄;10—镜盖连接圈;11—灯罩;12—灯座
偏振面间角度与视场图
9.在蔗糖水解反应速率常数测定的实验中,为了测量反应结束时的旋光度
,通常采用的方法是将反应液( )
A、在25 ℃水浴中放置100分钟 B、在60 ℃水浴中放置30分钟
C、在80 ℃水浴中放置20分钟 D、在100 ℃水浴中放置10分钟
10.在蔗糖水解反应实验中,以
对时间
作图时,常常出现反应初期的几个实验点偏离直线,可能的原因是( )
A、因为实验原理的近似性,即
对时间
作图近似成线性关系
B、因为反应为吸热反应,反应初期温度发生了改变
C、因为蔗糖没有精确称量
D、因为盐酸的浓度配制不准确
